The Evolution of the World Cup Ball by NY Times
My favs are Argentina 1978 "Tango" (you can find the plastic version in italian every seashore), Italia 1990 "Etrusco" and France 1998 "Tricolore".
But my fav is the legendary Official World Beach Ball "Super Santos"!
giovedì 24 giugno 2010
lunedì 21 giugno 2010
When I was doing the stage in Castenaso (BO) my colleagues use to talk me about Dexter.
Dexter is a tv series who talk about Dexter Morgan, a forensic blood spatter analyst for the Miami Metro Police Department who also happens to be a serial killer.
He was taught by his adoptive father, Harry, only to kill those "who deserve it"; mainly, other killers who have escaped the legal system or were never suspected in the first place.
Dexter's opening title sequence features an extended montage where ordinary day-to-day events such as shaving, flossing, dressing, preparing breakfast and eating are used visually to evoke Dexter's sinister nature.
"The first time you see it... it tells you everything you need to know about the character."
domenica 20 giugno 2010
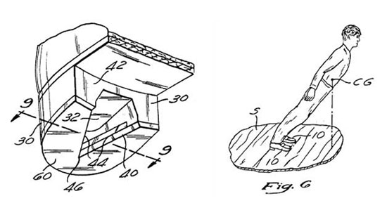
Did you ever wonder how Michael Jackson performed the antigravitational lean?
Searching on google patent i found the Patent n. 5255452 by Michael J. Jackson who explain the secret of one of the best MJ's skills.
This is the Abstract:
A system for allowing a shoe wearer to lean forwardly beyond his center of gravity by virtue of wearing a specially designed pair of shoes which will engage with a hitch member movably projectable through a stage surface. The shoes have a specially designed heel slot which can be detachably...
note: 1st img is not the patent shoe
Searching on google patent i found the Patent n. 5255452 by Michael J. Jackson who explain the secret of one of the best MJ's skills.
This is the Abstract:
A system for allowing a shoe wearer to lean forwardly beyond his center of gravity by virtue of wearing a specially designed pair of shoes which will engage with a hitch member movably projectable through a stage surface. The shoes have a specially designed heel slot which can be detachably...
note: 1st img is not the patent shoe
Etichette:
Antigravitational,
Boot,
Lean,
Michael Jackson,
Patent
venerdì 11 giugno 2010
Eyjafjallajökull
Iceland 1st May 2010,
Eyjafjallajökull volcano eruption time-lapse.
Music: Jónsi - Kolniður
Iscriviti a:
Commenti (Atom)



